安全狗云中心客户端集服务器安全管理和网站安全管理于一体,实现远程在线实时监控功能。用户只需在电脑上安装安全狗云中心客户端,同时服务器上安装安全狗软件,两者配合,即可实时了解服务器与网站的安全状态,同时安全狗软件的实时告警信息也将全部通过告警消息的方式推送到客户端,让您无需登录服务器,就可以轻松掌握服务器与网站的安全状态。

主要功能:
服务器资源监控
无需登录服务器即可实时获知服务器CPU、内存、硬盘、网络流量等使用情况
远程登录
通过云中心客户端即可方便远程登录到服务器,并可对登录信息进行保存设置
重启服务器、重启关键服务
方便快捷的远程重启服务器或重启关键服务,快速解决突发问题
网站安全管理
快捷了解网站最近安全状态,如最近一个月防攻击拦击次数、防篡改拦截次数等
网站云防篡改
通过云中心客户端即可方便将防篡改文件传到云中心,并同步到服务器上
网站云安全检测
客户端上快捷找到网站云安全检测的入口,通过经常性的漏洞扫描,了解网站潜在风险问题
告警信息及时推送
所有告警信息都将通过消息窗口及时推送到客户端,帮助您第一时间了解服务器与网站安全状况
更新日志:
1、安全升级,验证用户帐号安全性
2、服务器重启、关键服务、安全防护设置等功能增加安全验证
3、服云帐号在异地登录增加安全验证
4、在主界面区,增加“统计分析”入口和推送内容
5、在主机面板页面右上角增加“安全报告”入口
6、登录监控增加监控配置功能
相关搜索:安全狗
安全狗服云登录监控怎么设置?为了保证安全狗服云账号的安全,服云可以提供账号登录监控,它可以查看您的账号在那个地区登录,让您时时监控自己的账号。了解信息。那么这个安全狗服云登录监控怎么设置呢?接下来小编就来为大家分享一下解登录监控设置方法。
“服云”登录监控主要通过服务器安全狗对服务器远程桌面登录情况进行实时监控,用于帮助用户及时发现服务器远程桌面登录异常,减少因服务器被入侵所带来的危害。
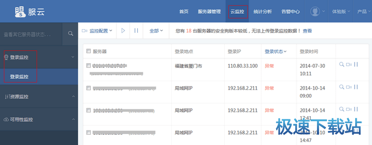
1、在“主机面板”页面,通过“登录监控”栏目,即可了解该服务器远程桌面登录情况,如图所示:

2、目前,仅服务器安全狗V4.1版本及以上版本支持“登录监控”功能,在使用“服云”过程中,如果遇到“登录监控”栏目提示“安全狗版本较低”,建议升级服务器安全狗至V4.1版本;
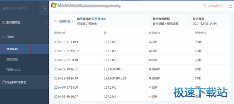
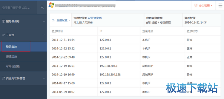
3、点击“登录监控”栏目上的提示链接(图标或文字),进入“异地登录”页面查看监控详情,如图所示:

4、或在“云监控”页面,进入“登录监控”页面,如图所示:

5、在需要查看详情的监控项目上,点击查看详情图标,进入监控详情页面,如图所示:

6、在“异地登录”页面,点击监控配置,对异地登录监控提醒进行设置,如图所示:

服务器要安装安全软件吗?答案是肯定的,服务器安全软件是非常重要的,它可以帮你防御ARP攻击、CC攻击、DDOS攻击等等,并支持端口保护、登陆保护等等,所以服务器是必须要安装安全软件的,目前比较知名的安全软件有服...