时间:2021-10-02 15:10:04 作者:无名 浏览量:43
柠檬云是功能强大的专业公司财务管理软件,通过集成的界面,可以进行快速发展实现企业内部控制系统主要业务数据的自动生成凭证,接入后,只需扫描发票二维码,或者输入发票信息,即可在几秒钟内完成对海销通快消品综合运营系统的开发,为此,我们成功地开发了海迈通快递消费品一体化运营系统,实现了渠道、销售、财务一体化管理的企业系统,进入系统后,只需扫描发票 qr 码或输入发票信息,就可以成功开发出海迈通快递消费品综合操作系统,从而实现了渠道、财务、物流一体化管理的企业系统。

柠檬云如何关联进销存图1

共同进销存。
使用柠檬云进销存软件可以实现系统的智能对接,将我们在工作过程中所产生的进销存单据快速合成会计凭证,通过这样的操作可以使往来销售所需的成本快速核算。
1)功能入口:

柠檬云如何关联进销存图2
用柠檬云记帐APP进行扫码验证。

柠檬云如何关联进销存图3
2)运作步骤:
①使用者可直接点击网页设置,进入相关的进销存设定页,如下图所示。
②进入企业相关信息页面后点击编辑按钮,或根据不同用户通过实际发展需求可以选择关联进销帐套,用户如果需要在该页面设置关联的进销存,只需点击关联,然后按保存。
在关联企业取得成功后,可以通过“设置投入产出库存核算参数”来研究下一步的运作。
3)注意事项:
只有财务软件和同时拥有进销存的帐套管理员有权设置关联的进销存。

柠檬云如何关联进销存图4
设置进销存会计参数。

柠檬云如何关联进销存图5
3)运作步骤:
①按页上的进销存会计参数,如下图所示。
选择一个确定企业各自的基本可以设置和默认匹配原则,编辑技术确定默认的相应科目,以便跟踪自动匹配科目销售和库存数据,智能生成销售和库存凭证;
用户在设定好进销存参数后,可按下一步进入下一步。=。
4)注意事项。
请注意,保存参数后,我们将基于列表中的参数自动定制=匹配。
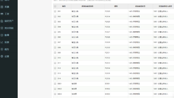
完善进销存基础数据。

柠檬云如何关联进销存图6
操作步骤:
①点击“进销存基本资料”操作指引,进入进销存基本资料页面;
②当用户完成对销售存g的处置掉的更改后,系统将智能地匹配现有数据和会计科目参数,如果需要再次修改,可以根据需要对这些数据进行定制修改。
④完善企业进销存基本信息资料后,可以通过进行研究下一步操作“自动生成凭证”。