极速下载站 —— 提供优质软件下载服务,感受全新的极速下载体验!

最近更新 | 软件专题 | 软件分类 | 软件排行

您的位置:极速下载站资讯首页软件教程电脑软件教程 → 火绒安全软件官方下载漏洞修复使用教程

火绒安全软件官方下载漏洞修复使用教程

时间:2021-05-18 11:43:42  作者:无名  浏览量:57

火绒安全软件作为一款轻巧高效免费的电脑防御及杀毒类安全软件,拥有海量的电脑防护功能,能够帮助用户抵御外网中的病毒恶意文件,各种广告弹窗和应用插件,支持用户对重要的文件数据进行加密,能够保证用户电脑的隐私,需要的朋友赶紧下载体验吧!
U盘使用控制
g 火绒“U 盘使用控制”提供了阻挡不被信任的 U 盘接入电脑的功能。当开启 U 盘使 用控制功能后,接入的 U 盘需添加信任,未信任的 U 盘将不能使用。
火绒安全软件官方下载漏洞修复使用教程
火绒安全软件官方下载漏洞修复使用教程图1
选中需要信任的设备,点【添加信任】,U 盘即可正常连接使用。信任的设备在下一次 连接电脑时无需再次确认,可直接连接。
火绒安全软件官方下载漏洞修复使用教程
火绒安全软件官方下载漏洞修复使用教程图2
漏洞修复
漏洞可能导致您的电脑被他人入侵利用。微软公司和其他软件公司会不定期地针对 Windows 操作系统以及在 Windows 操作系统上运行的其他应用发布相应的补丁程序,漏 洞修复能第一时间获取补丁相关信息,及时修复已发现的漏洞。 打开漏洞修复进入漏洞修复首页(下图),点击开始扫描进行漏洞修复扫描。
火绒安全软件官方下载漏洞修复使用教程
火绒安全软件官方下载漏洞修复使用教程图3
扫描发现问题后火绒会默认勾选上高危漏洞补丁;功能漏洞补丁一般不容易导致电脑产 生安全风险,因此不会自动为您勾选,建议有电脑经验的用户选择性修复;不建议安装的补 丁在安装后可能会导致您软件异常或导致系统崩溃,默认不会勾选,建议您在非必要时不要 修复。点击一键修复将开始下载安装已勾选的漏洞补丁。
火绒安全软件官方下载漏洞修复使用教程
火绒安全软件官方下载漏洞修复使用教程图4
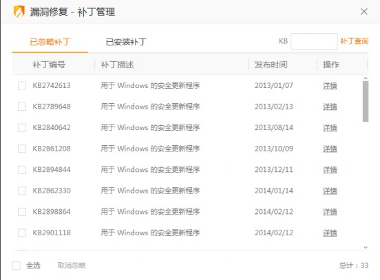
补丁管理在漏洞修复首页右下角,在补丁管理中的项目我们将不予以扫描显示。您如需 解除此状态,您可在补丁管理中选中需要解除忽略的项目并点击【取消忽略】。
火绒安全软件官方下载漏洞修复使用教程
火绒安全软件官方下载漏洞修复使用教程图5
有时漏洞较多或漏洞补丁较大时常常需要很长的下载时间与安装时间。您可在正在修复 的页面中点击【后台修复】,将漏洞修复切换至后台并提示您(见下图)。在电脑右下角的托盘中您可再次找到漏洞修复。
火绒安全软件官方下载漏洞修复使用教程
火绒安全软件官方下载漏洞修复使用教程图6
系统修复
系统修复能修复因为木马病毒篡改、软件的错误设置等原因导致的各类电脑系统异常、 不稳定问题,以保证系统安全稳定地运行。 打开系统修复,进入系统修复主页,点击扫描按钮可开始扫描排查系统问题。
火绒安全软件官方下载漏洞修复使用教程
火绒安全软件官方下载漏洞修复使用教程图7

火绒安全软件 4.0.91.3 官方版

火绒安全软件图片
  • 软件性质:国产软件
  • 授权方式:免费版
  • 软件语言:简体中文
  • 软件大小:15210 KB
  • 下载次数:6307 次
  • 更新时间:2021/5/18 12:49:18
  • 运行平台:WinAll...
  • 软件描述:使用电脑的时候经常害怕自己的电脑被病毒入侵吗?今天极速小编给大家推荐一款好用的电... [立即下载]

相关资讯

相关软件